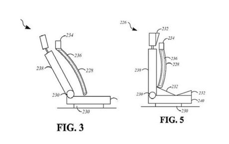
صندلی هوشمندی که از سرنشین محافظت می کند یک کمپانی فناوری حق امتیازی جدیدی برای یک صندلی خودرو ثبت کرده که خطر را به سرنشین هشدار می دهد و طوری جمع می شود که به او آسیبی نرسد. ...